Caracteristici
-
Conector 1
Filet METRIC exterior cilindric
-
Conector 2
Filet METRIC exterior cilindric
-
Etansare 1
Con interior 24°
-
Etansare 2
Forma B
-
Finisare suprafata
Galvanizare
-
Material
Otel
-
Set livrare
Corp (fara piulita si inel de taiere)
-
Standard
DIN 2353/ISO 8434-1
-
Tip Filet
METRIC
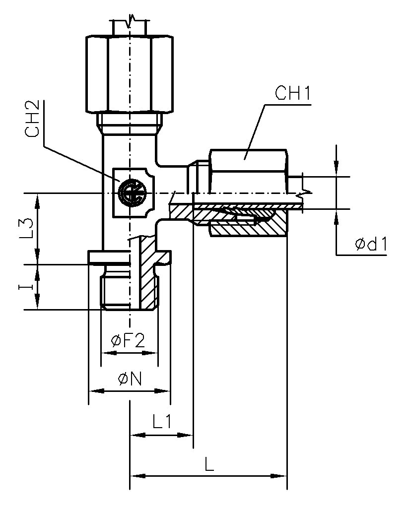
Date tehnice
|
Cod
|
DN (mm)
|
Filet
|
PN (bar)
|
I
|
L
|
L1
|
L3
|
SW1
|
SW2
|
Diametru teava
|
ØD1
|
ØN
|
|
|
22 |
M26x1.5 |
160 |
16 |
44 |
27.5 |
26 |
36 |
27 |
22 |
22 |
31 |
|
|
28 |
M33x2 |
160 |
18 |
47 |
30.5 |
30 |
41 |
36 |
28 |
28 |
39 |
|
|
35 |
M42x2 |
160 |
20 |
56 |
34.5 |
34 |
50 |
41 |
35 |
35 |
49 |
|
|
42 |
M48x2 |
160 |
22 |
63 |
40 |
39 |
60 |
50 |
42 |
42 |
55 |
×
❮
❯