Caracteristici
-
Conector 1
Filet METRIC exterior cilindric
-
Conector 2
Filet METRIC exterior cilindric
-
Etansare 1
Con interior 24°
-
Etansare 2
Con interior 24°
-
Finisare suprafata
Fosfatat
-
Material
Otel
-
Set livrare
Corp (fara piulita si inel de taiere)
-
Standard
DIN 2353/ISO 8434-1
-
Tip Filet
METRIC
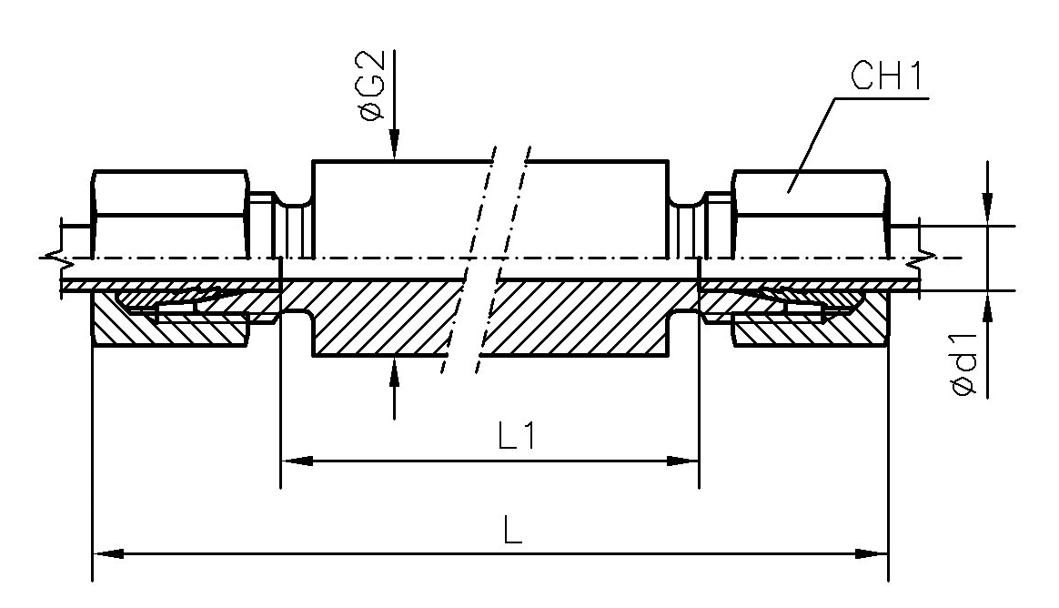
Date tehnice
|
Cod
|
DN (mm)
|
PN (bar)
|
L
|
L1
|
SW1
|
Diametru teava
|
ØD1
|
ØG2
|
|
|
6 |
630 |
89 |
60 |
17 |
6 |
6 |
20 |
|
|
8 |
630 |
89 |
60 |
19 |
8 |
8 |
22 |
|
|
10 |
630 |
91 |
59 |
22 |
10 |
10 |
25 |
|
|
12 |
630 |
91 |
59 |
24 |
12 |
12 |
28 |
|
|
14 |
630 |
107 |
72 |
27 |
14 |
14 |
30 |
|
|
16 |
400 |
107 |
71 |
30 |
16 |
16 |
35 |
|
|
20 |
400 |
114 |
71 |
36 |
20 |
20 |
38 |
|
|
25 |
400 |
120 |
72 |
46 |
25 |
25 |
45 |
|
|
30 |
400 |
126 |
73 |
50 |
30 |
30 |
50 |
|
|
38 |
315 |
60 |
133 |
72 |
38 |
38 |
315 |
×
❮
❯